Loading...
Loading...

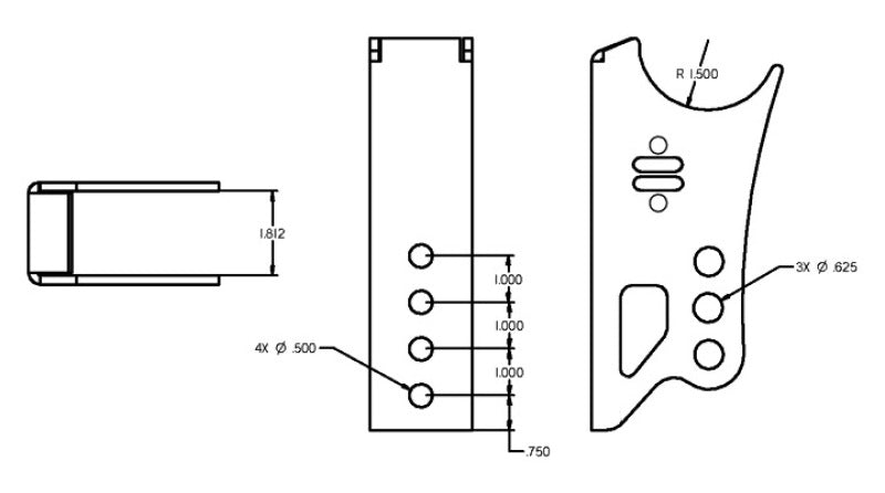
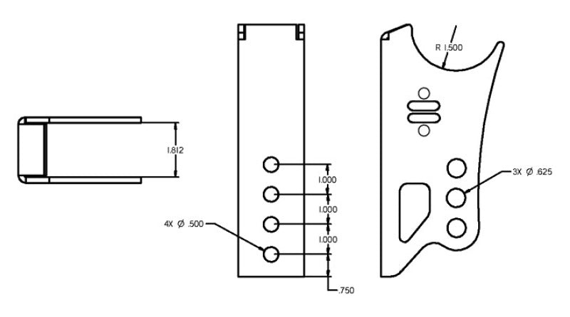
Ridetech Weld On Rear Axle Bracket for Bolt-On 4 Link - 70010122

SKU: SKU: RID70010122

Currently Out of Stock
Contact us for ETA at sales@raptorracing.com
Ridetech Weld On Rear Axle Bracket for Bolt-On 4 Link

Search